
JNRBH Acculine™
Remote Glass Door Reach-In
Hillphoenix JNRBH CLARITY® Remote, Glass Door, Reach-In, Display Case Merchandisers for medium-temperature for beverage, produce, bakery, dairy, deli, meat, and seafood. Acculine™ is a proven production line assembly process developed by Hillphoenix to raise the standard for achieving precise fit and finish in its refrigerated door cases. This automated line eliminates the variables and production interruptions of traditional hand-assembly by aiding assemblers with the addition of state-of-the art computer programming and advanced robotics in the company's first automated production line
Hillphoenix JNRBH CLARITY® Remote, Glass Door, Reach-In, Display Case Merchandisers for medium-temperature for beverage, produce, bakery, dairy, deli, meat, and seafood. Acculine™ is a proven production line assembly process developed by Hillphoenix to raise the standard for achieving precise fit and finish in its refrigerated door cases. This automated line eliminates the variables and production interruptions of traditional hand-assembly by aiding assemblers with the addition of state-of-the art computer programming and advanced robotics in the company's first automated production line

Please consult Hillphoenix Engineering Reference Manual for dimensions, plan views and technical specifications. Specifications subject to change without notice. Designed for optimal performance in store environments where temperature and humidity do not exceed 75°F and 55% R.H. Certified to UL 471, ANSI/NSF Standard 2,7,51 and CAN/CSA C22.2
Remote Glass Door Reach-In
Hillphoenix JNRBH CLARITY® Remote, Glass Door, Reach-In, Display Case Merchandisers for medium-temperature for beverage, produce, bakery, dairy, deli, meat, and seafood. Acculine™ is a proven production line assembly process developed by Hillphoenix to raise the standard for achieving precise fit and finish in its refrigerated door cases. This automated line eliminates the variables and production interruptions of traditional hand-assembly by aiding assemblers with the addition of state-of-the art computer programming and advanced robotics in the company's first automated production line
Hillphoenix JNRBH CLARITY® Remote, Glass Door, Reach-In, Display Case Merchandisers for medium-temperature for beverage, produce, bakery, dairy, deli, meat, and seafood. Acculine™ is a proven production line assembly process developed by Hillphoenix to raise the standard for achieving precise fit and finish in its refrigerated door cases. This automated line eliminates the variables and production interruptions of traditional hand-assembly by aiding assemblers with the addition of state-of-the art computer programming and advanced robotics in the company's first automated production line
Features & Benefits
- Acculine automated production process achieves precise fit and finishes in J Series reach-in cases.
- Precisely cut interlocking back panels and drilled egresses result in a more consistent case that results in a better case-to-case alignment.
- Top wiring with quick-connect electrical harnesses results in faster and accurate connections during installation.
- 64” interior front facings enhance planogram design options with added flexibility and versatility.
- Bottom-mounted refrigeration components facilitate serviceability and allow for full top-shelf merchandising.
- The modular interior component design allows easy access to the coil, fans, and drain for ease of maintenance.
- Proprietary Synerg-E® technology that enables energy efficiency and lower average product temperatures.
- Seamless lineups of low, and medium-temperature cases for consistency in store design.
- Innovative Anthony Optimax® LED lighting for energy efficiency and a stunning merchandise display.
- Single-piece tank design allows for easier defrost condensate draining.
- Removeable casters for easy merchandiser unloading, movement, and installation.
Standard Configuration
- Anthony black ELM D doors.
- Mechanical TX valves.
- Vented black painted metal kick plate.
- 5 rows of 22″ shelves with PVC tag molding.
- Square ends with polymer end trim.
- Flat front.
- Top piping.
- Off-time defrost on medium-temperature.
- Electric defrost on low-temperature
Available Options
- Medium and low-temperature available lengths: 2, 3, 4 & 5 doors with 30” standard swing doors.
- Medium-temperature available lengths: 6', 8' & 12' case with 24" French doors.
- Interior color: appliance white or matte black.
- Exterior color: textured gray, appliance white, matte & gloss black. textured gray, white knight, bengal silver, antique silver vein, champagne beige, hardwood black, french vanilla, bronze age 2, bleach sand, silver spice, matte steel gray, and silver metallic.
- Available standard swing doors: Anthony® Infinity 90® or ELM D doors.
- Available French swing: Anthony Infinity 60®, 90®, or ELM D doors.
- 101 Frame for medium-temperature applications.
- 101 LE frame with door rail heat for low-temperature applications.
- Electronic expansion valve
- Controllers for temperature and defrost management.
- Partitions and non-insulated dividers.
- Motion sensors for additional energy savings.
- 12” fascia available.
- Storm gray PVC kick plate.
- 20” shelf option with PVC tag molding for maximum display capacity.
- Rear entry piping available.
- Hot gas defrost on low-temperature.
- Flat front with 1” bumper.
- Anti-condensate controls for low-temperature cases.
- Other Versions: self-contained JNRBHSA and JNRZHSA.
- CO² refrigeration packages available.
Attributes
- Alternate Heights: -
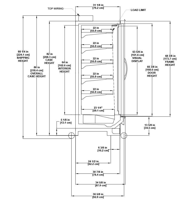
- Case Depth / Footprint: 34 5/8"
- Case Height Standard: 84 1/4"
- Case Length: 2, 3, 4, 5 Door, 6', 8' & 12' French Door Lengths.
- Case Temp: Medium-Temp
- Case Type: Reach-In, Remote, Glass Door & Lid
- Department: Beverage, Dairy, Deli, , Dairy, Deli, General, Produce
- Door Type: Many door types, finish colors and handle options available. Please see Clarity for more details.
- Interior Depth: 23"
- Interior Height: 64"
- Other Models: JNRBHSA Self-contained and can fit through a 80" door.
- Product Type: Display Case
- Refrigerated Volume: 31.2 Cubic Foot per Door
- Remote / Self-Contained: Remote
- Retail Types: Convenience Store, Dollar Discount, Drug Store, Food Service, Hospitality, Mass Merchandise, Membership & Warehouse, Restaurant, Small Format, Supermarket, Urban Format, Dollar Store
- Systems Refrigerant Types: HFC
Related Products

ONRM
Hillphoenix Clarity Glass Door, Reach-In Cases ONRM Medium-Temperature, Narrow, Reach-In Display Case for meat products. Specifically designed for fresh meat…

VNRZ
Hillphoenix Clarity Glass Door, Reach-In Cases VNRZ Low-Front Narrow-Depth, Standard-Height and VNRZH Narrow-Depth, High-Height, Low-Temperature Display Cases for frozen food…