
JNRZH Acculine™
Remote Glass Door Reach-In
Hillphoenix JNRZH CLARITY® Remote, Glass Door, Reach-In, Display Case Merchandisers for low-temperature frozen food and ice cream. Acculine™ is a proven production line assembly process developed by Hillphoenix to raise the standard for achieving precise fit and finish in its refrigerated door cases. This automated line eliminates the variables and production interruptions of traditional hand-assembly by aiding assemblers with the addition of state-of-the art computer programming and advanced robotics in the company's first automated production line.
Hillphoenix JNRZH CLARITY® Remote, Glass Door, Reach-In, Display Case Merchandisers for low-temperature frozen food and ice cream. Acculine™ is a proven production line assembly process developed by Hillphoenix to raise the standard for achieving precise fit and finish in its refrigerated door cases. This automated line eliminates the variables and production interruptions of traditional hand-assembly by aiding assemblers with the addition of state-of-the art computer programming and advanced robotics in the company's first automated production line.

Please consult Hillphoenix Engineering Reference Manual for dimensions, plan views and technical specifications. Specifications subject to change without notice. Designed for optimal performance in store environments where temperature and humidity do not exceed 75°F and 55% R.H. Certified to UL 471, ANSI/NSF Standard 2,7,51 and CAN/CSA C22.2
Remote Glass Door Reach-In
Hillphoenix JNRZH CLARITY® Remote, Glass Door, Reach-In, Display Case Merchandisers for low-temperature frozen food and ice cream. Acculine™ is a proven production line assembly process developed by Hillphoenix to raise the standard for achieving precise fit and finish in its refrigerated door cases. This automated line eliminates the variables and production interruptions of traditional hand-assembly by aiding assemblers with the addition of state-of-the art computer programming and advanced robotics in the company's first automated production line.
Hillphoenix JNRZH CLARITY® Remote, Glass Door, Reach-In, Display Case Merchandisers for low-temperature frozen food and ice cream. Acculine™ is a proven production line assembly process developed by Hillphoenix to raise the standard for achieving precise fit and finish in its refrigerated door cases. This automated line eliminates the variables and production interruptions of traditional hand-assembly by aiding assemblers with the addition of state-of-the art computer programming and advanced robotics in the company's first automated production line.
Features & Benefits
- Acculine automated production process achieves precise fit and finishes in J Series reach-in cases.
- Precisely cut interlocking back panels and drilled egresses result in a more consistent case that results in a better case-to-case alignment.
- Top wiring with quick-connect electrical harnesses results in faster and accurate connections during installation.
- 64” interior front facings enhance planogram design options with added flexibility and versatility.
- Bottom-mounted refrigeration components facilitate serviceability and allow for full top-shelf merchandising.
- The modular interior component design allows easy access to the coil, fans, and drain for ease of maintenance.
- Proprietary Synerg-E® technology that enables energy efficiency and lower average product temperatures.
- Seamless lineups of low, and medium-temperature cases for consistency in store design.
- Innovative Anthony Optimax LED lighting for energy efficiency and a stuffing merchandise display.
- Single-piece tank design allows for easier defrost condensate draining.
- Removeable casters for easy merchandiser unloading, movement, and installation.
Standard Configuration
- Anthony black ELM D doors.
- Mechanical TX valves.
- Vented black painted metal kick plate.
- 5 rows of 22″ shelves with PVC tag molding.
- Square ends with polymer end trim.
- Flat front.
- Top piping.
- Off-time defrost on medium temperature.
- Electric defrost on low-temperature
Available Options
- Available lengths: 2, 3, 4 & 5 doors with 30” standard swing.
- Interior color: appliance white or matte black.
- Exterior color: appliance white, matte & gloss black. textured gray, white knight, bengal silver, antique silver vein, champagne beige, hardwood black, french vanilla, bronze age 2, bleach sand, silver spice, matte steel gray, and silver metallic.
- Available standard swing doors: Anthony® Infinity 90® or ELM D doors in polished aluminum and black.
- 101 LE frame with door rail heat for low-temperature applications.
- Electronic expansion valve
- Controllers for temperature and defrost management.
- Partitions and non-insulated dividers.
- Motion sensors for additional energy savings.
- 12” fascia available.
- Storm gray PVC kick plate.
- 20” shelf option with PVC tag molding for maximum display capacity.
- Rear entry piping available.
- Hot gas defrost on low-temperature.
- Flat front with 1” bumper.
- Anti-condensate controls for low-temperature cases.
- Other Versions: self-contained JNRBHSA and JNRZHSA.
- CO² refrigeration packages available.
Attributes
- Alternate Heights: -
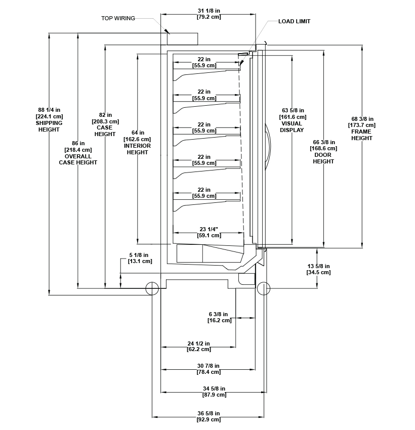
- Case Depth / Footprint: 34 5/8"
- Case Height Standard: 84 1/4"
- Case Length: 2, 3, 4, 5 Door & 4'
- Case Temp: Low-Temp
- Case Type: Remote, Reach-In
- Department: Ice Cream & Gelato, Frozen Food
- Door Type: Many door types, finish colors and handle options available. Please see Clarity for more details.
- Interior Depth: 23"
- Interior Height: 64 "
- Other Models: JNRZHSA Self-contained can fit through an 80" door.
- Product Type: Display Case
- Refrigerated Volume: 31.2 Cubic Foot per Door
- Remote / Self-Contained: Remote
- Retail Types: Convenience Store, Dollar Discount, Drug Store, Food Service, Hospitality, Mass Merchandise, Membership & Warehouse, Restaurant, Small Format, Supermarket, Urban Format, Dollar Store
Related Products

Clarity Reach-In Merchandisers
Clarity Merchandisers are perfect for both LT (low-temperature) and MT (medium-temperature) applications. CLARITY brings a new versatility to store merchandisers…

JNRBHSA Acculine™
Hillphoenix R-290 JNRBHSA CLARITY® Self-Contained Glass Door, Reach-In, Display Case Merchandisers for beverage, produce, dairy and deli. Best used for…